Beschreibung
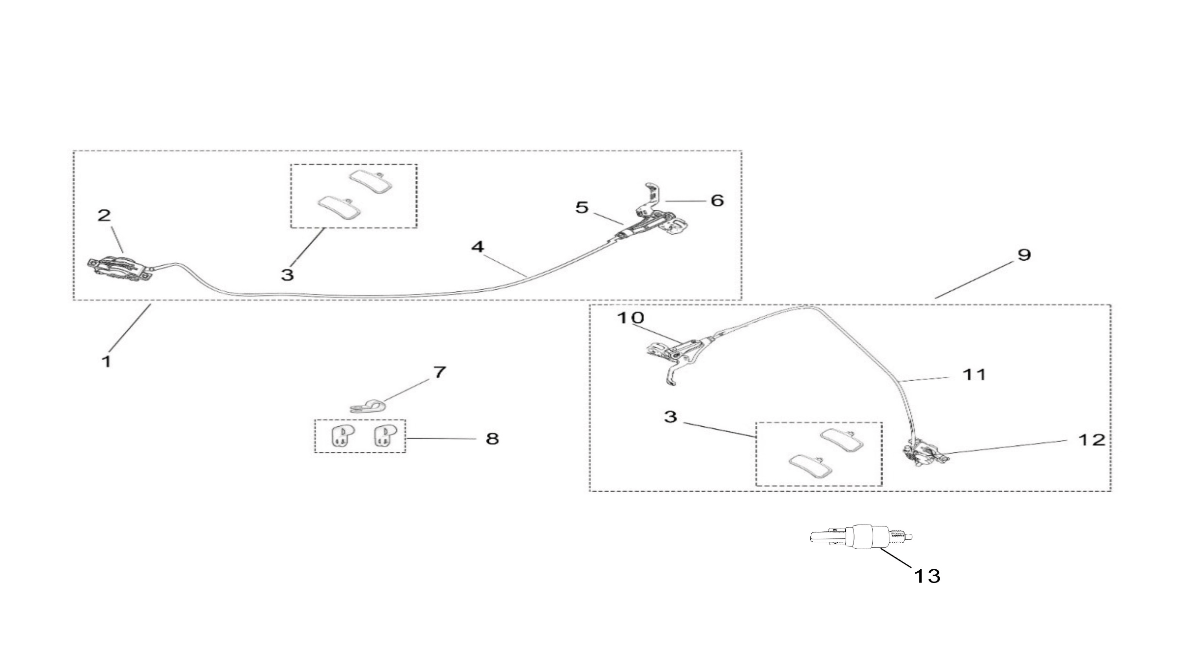
Ob vorderes oder hinteres komplettes Bremsset, -schlauch, -zylinder oder Bremshebel – Hier findest du alle Sur-ron Original Ersatzteile für das Bremssystem deines Bikes!
€0.00
Bremse mit Zubehör
Nicht vorrätig
Ob vorderes oder hinteres komplettes Bremsset, -schlauch, -zylinder oder Bremshebel – Hier findest du alle Sur-ron Original Ersatzteile für das Bremssystem deines Bikes!